据海外媒体报道,一艘从沙特阿拉伯开往阿联酋的货船在印度洋遭到袭击。


路透社也对此事件进行了报道:

消息人士的话称,船员没有受伤,这艘船可能在周六被导弹击中,但并未受到严重损坏并继续航行。
据 N12 报道,国防官员表示,他们正在检查伊朗军队是否是此次袭击的幕后黑手。
黎巴嫩亲伊朗电视频道 Al Mayadeen 早些时候报道了这一事件称,这艘船遭到不明武器袭击。
以色列媒体将这艘集装箱船确定为“CSAV Tyndall”号,并最初称其为 Zodiac Maritime Ltd 所有,然而,该公司发表声明称,它不再经营或拥有 CSAV Tyndall,早在几个月前就已经将其售出。
Refinitiv Eikon 的船舶跟踪数据显示,该船最后停靠在吉达,现在已离开迪拜海岸。
集装箱船“CSAV Tyndall”号(IMO 9627928)建于2014年,悬挂利比亚旗帜。

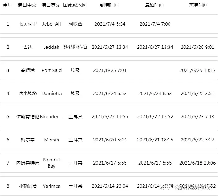
据船舶网数据显示,该船靠港历史如下:


如您有转搭载货物安排,请务必留意事态发展。
据大船期数据显示,共舱的船司有:ANL、APL、CMA CGM、COSCO SHIPPING、HAPAG-LLOYD、OOCL


请转发周知,提醒身边的外贸人朋友~

